Máy bơm trục đứng LW không dừng đảm bảo xử lý hiệu quả nước thải chứa chất rắn mà không cần lo lắng về nước thải và các ứng dụng công nghiệp. Thiết kế thẳng đứng giúp tiết kiệm không gian, đồng thời tránh được chướng ngại vật.
Số mục :
LWĐơn hàng (MOQ) :
1Sự chi trả :
Alipay PayPal westernunion T/T L/CNguồn gốc sản phẩm :
ChinaMàu sắc :
CustomizedCảng vận chuyển :
shanghai shenzhen guangzhouThời gian dẫn :
please contact 504893184@qq.com or CP +8613696510409Bưu kiện :
CustomizedVật liệu :
Cast ironMáy bơm nước thải trục đứng không bị tắc nghẽn
Công ty chúng tôi đã tạo ra ba dòng sản phẩm chính tạo nên dòng máy bơm nước thải trục đứng LW (WL). Các máy bơm này đã được cải tiến để đáp ứng nhiều nhu cầu và điều kiện vận hành khác nhau của người dùng, dựa trên mô hình thủy lực của dòng máy bơm nước thải chìm WQ (trước đây là QW). Kể từ khi ra mắt, dòng máy bơm LW đã trở nên nổi tiếng và được đánh giá cao trên thị trường nhờ thiết kế tiên tiến và hiệu suất đáng tin cậy.
Ứng dụng sản phẩm
Trạm xả nước thải trong khu dân cư, hệ thống thoát nước trong các nhà máy xử lý nước thải đô thị, trạm thoát nước trong các hệ thống phòng không dân dụng, hệ thống cấp nước trong các nhà máy xử lý nước, hệ thống thoát nước trong bệnh viện và khách sạn, công trình xây dựng đô thị, thiết bị hỗ trợ khai thác và thăm dò, bể biogas nông thôn và hệ thống tưới tiêu nông nghiệp đều là những ứng dụng phù hợp cho sản phẩm này. Nó có khả năng vận chuyển nước sạch, chất ăn mòn, nước thải và rác thải có chứa các hạt rắn.
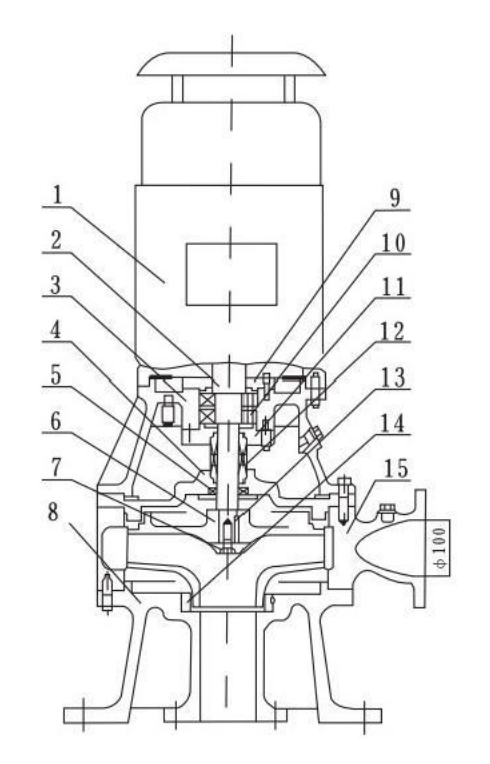
Sơ đồ cấu trúc

| 1 | Động cơ |
| 2 | Trục mở rộng |
| 3 | Vỏ ổ trục |
| 4 | Nắp bơm |
| 5 | Phớt dầu |
| 6 | Cánh quạt |
| 7 | Đai ốc cánh quạt |
| 8 | Căn cứ |
| 9 | Nắp ổ trục |
| 10 | Vòng bi |
| 11 | Ghế phớt cơ khí |
| 12 | Phớt cơ khí |
| 13 | Chìa khóa |
| 14 | Vòng đeo thân bơm |
| 15 | Thân bơm |