Được thiết kế để đảm bảo độ tin cậy, bơm ly tâm tự mồi nối trực tiếp ZXL vận hành không cần bảo trì và tự động mồi hiệu quả. Đây là giải pháp đa năng cho nhiều ứng dụng, từ vận chuyển nước nông nghiệp đến xử lý chất lỏng công nghiệp.
Số mục :
ZXLĐơn hàng (MOQ) :
1Sự chi trả :
L/C T/T westernunion Alipay PaypalNguồn gốc sản phẩm :
ChinaMàu sắc :
CustomizedCảng vận chuyển :
shanghai shenzhen guangzhouThời gian dẫn :
please contact CP +8613696510409Cân nặng :
please contact 504893184@qq.comBưu kiện :
CustomizedVật liệu :
Cast iron/Stainless steelBơm ly tâm tự mồi nối trực tiếp
Dòng bơm tự mồi kết nối trực tiếp ZXL là một sản phẩm tiên tiến được phát triển dựa trên công nghệ tiên tiến trong nước và quốc tế. Là một thành tựu tiên phong tại Trung Quốc, sản phẩm này đạt chuẩn mực quốc tế hàng đầu về hiệu suất kỹ thuật, thể hiện tiềm năng ứng dụng đáng kể và triển vọng thị trường đầy hứa hẹn.
Ưu điểm của sản phẩm
Được thiết kế để tối ưu hóa việc truyền tải chất lỏng trong môi trường khắc nghiệt, bơm khớp nối trực tiếp ZXL loại bỏ việc lắp đặt phức tạp. Thiết kế cải tiến của nó không yêu cầu van một chiều hoặc van chân và đạt được khả năng tự mồi đáng tin cậy với lượng chất lỏng tối thiểu. Thiết bị nhỏ gọn, không rung lắc này có kích thước nhỏ hơn 30%, phớt cacbua vonfram chống mài mòn và động cơ đạt chuẩn IP54, khiến nó trở thành giải pháp lý tưởng, ít bảo trì cho các ứng dụng công nghiệp và nông nghiệp ngoài trời.
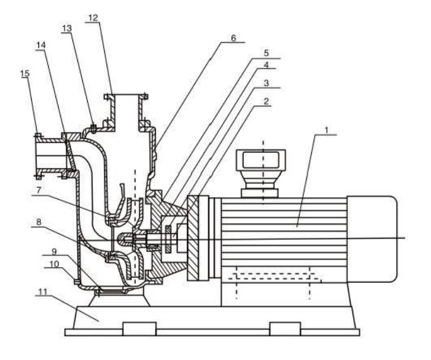
Sơ đồ cấu trúc

| 1 | Động cơ | Kết nối trực tiếp với máy bơm để truyền động. Sử dụng động cơ chính hãng (model CYZ-AL sử dụng động cơ chống cháy nổ). |
| 2 | Trục bơm | Đồng trục với động cơ. Thiết kế trục mở rộng đảm bảo đồng tâm cho hoạt động trơn tru (không gây tiếng ồn/rung). Mạ crôm tăng cường độ bền. |
| 3 | Vòng chắn nước | Ngăn ngừa động cơ bị ngập nước do rò rỉ phớt. |
| 4 | Phớt cơ khí | Được chế tạo bằng thép không gỉ, cacbua vonfram và cao su fluoro. Thiết kế cân bằng chịu nhiệt độ cao/áp suất cao đảm bảo hoạt động không rò rỉ, không mài mòn trục và không tích tụ cặn. |
| 5 | Nắp bơm | Kết nối thân bơm và động cơ. |
| 6 | Thân bơm | Được thiết kế với các buồng thủy lực tối ưu (xả/hút/tách khí-lỏng). Có chân đế để lắp đặt chắc chắn. |
| 7 | Cánh quạt | Thiết kế thủy lực hiệu suất cao cho hiệu suất đáng tin cậy. |
| 8 | Vòng đệm | Làm kín mối nối giữa cánh bơm và thân bơm. |
| 9 | Tấm bìa dưới | Cho phép loại bỏ cặn bẩn khi mở. |
| 10 | Nút xả nước | Xả hết chất lỏng còn sót lại khi máy bơm không hoạt động trong thời gian dài. |
| 11 | Tấm đế | Cung cấp kết nối cấu trúc và hỗ trợ lắp đặt bộ chống rung. |
| 12 | Vòi xả | Kết nối với đường ống thoát nước. |
| 13 | Van cấp nước | Bổ sung dịch khoang miệng khi thiếu. |
| 14 | Van kiểm tra | Ngăn chặn dòng chảy ngược khi máy bơm ngừng hoạt động. |
| 15 | Vòi phun đầu vào | Kết nối với đường ống nạp. |